tp-480
do powitalnej; tytul.jpg (29668 bytes)
slutyt.gif (4114 bytes) Amatorski radioteleskop. Przełącznik antenowy.
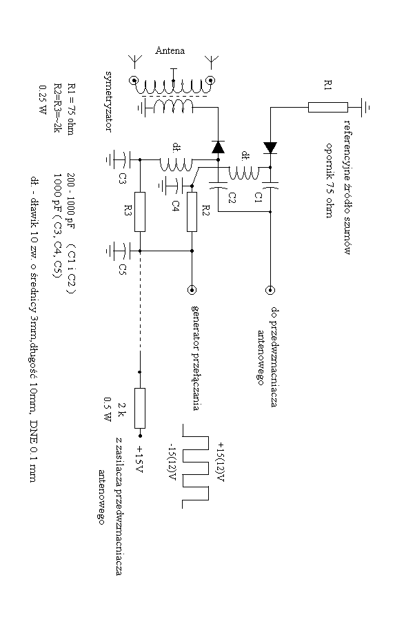
W najbardziej rozwiniętej wersji - schemat 3 - zastosowany został przełącznik antenowy, który współpracuje z generatorem przełączania.
Umieszczamy tu schemat ideowy przełącznika, który można wydrukować na kartce formatu A4. Wykaz elementów umieszczony na schemacie.

(C) Copyright  1999, 2000  by Andrzej Kus | Andrzej Marecki | Tomasz Pyć * Wszystkie prawa zastrzeżone. All rights reserved.
Strona opracowana dla IE 4.0+ * Rozdzielczość 800 x 600 px.